Толковый словарь
м.
1. Устройство для снижения скорости движения или для полной остановки транспорта.
отт. перен. То, что задерживает движение, развитие чего-либо; препятствие, помеха.
2. Приспособление в дульной части огнестрельного оружия, уменьшающее при выстреле длину отката в артиллерийских орудиях и силу отдачи в стрелковом оружии.
Толковый словарь Ушакова
ТО́РМОЗ, тормоза, мн. тормозы-тормоза, муж. (греч. tormos - отверстие, втулка).
1. (мн. тормоза). Прибор, аппарат для замедления или полной остановки движения машины посредством трения (тех.). Ручной тормоз. Ножной тормоз (в автомобиле). Воздушный тормоз (в трамвае, троллейбусе, метро). Автоматический тормоз. Тормоз Вестингауза. Тормоз Казанцева.
2. (мн. тормозы) перен. То, что задерживает движение, развитие чего-нибудь, помеха, препятствие (книжн.). Главным тормозом в их работе является теснота помещения.
Толковый словарь Ожегова
ТО́РМОЗ, -а, мн. -а́, -о́в и -ы, -ов, муж.
1. (мн. -а, -ов). Механизм или устройство для уменьшения скорости или остановки машины, поезда. Автоматический т. Ручной т. Спускаться на тормозах (тормозя). Спустить на тормозах что-н. (также перен.: уладить что-н. неприятное тихо, без шума; разг.).
2. (мн. -ы, -ов), перен. Помеха, препятствие в развитии чего-н. Т. в работе.
| прил. тормозной, -ая, -ое (к 1 знач.). Т. рычаг.
Словарь существительных
ТО́РМОЗ, -а, м
Устройство, являющееся частью какой-л. машины (преимущественно транспортного средства), предназначенное для замедления или остановки движения.
Тормоза у нового велосипеда работали просто отлично.
Энциклопедический словарь
ТО́РМОЗ -а; мн. тормоза́, -о́в и то́рмозы, -ов; м.
1. мн.: тормоза́, -о́в. Устройство для замедления или остановки движения какой-л. машины. Автоматический т. Ручной, ножной т. Нажать на т. Задний т. велосипеда. Тормоза заскрежетали. Спускаться на тормозах (тормозя, замедляя движение). Спустить на тормозах что-л. (также: уладить что-л. неприятное тихо, без шума). Отдать тормоза (отпустить тормозное устройство, перестать тормозить).
2. только ед. = Торможе́ние. Резкий, плавный т. Внутренний т. сработал (о процессе психологической саморегуляции).
3. мн.: то́рмозы, -ов. О том, что задерживает движение, развитие чего-л.; препятствие, помеха (1 зн.). Т. экономического развития. Т. в работе. Консерватизм мышления - мощный т. на пути преобразований.
4. Разг. О несообразительном человеке.
◁ Тормозно́й (см.).
* * *
то́рмоз - механизм или устройство для уменьшения скорости движения машины. Может иметь механический (в том числе пневматический или гидравлический) и электрический привод. Торможение обычно осуществляется силами трения или при взаимодействии магнитных полей.

* * *
ТОРМОЗ - ТО́РМОЗ, механизм или устройство для уменьшения скорости движения машины. Может иметь механический (в т. ч. пневматический или гидравлический) и электрический привод. Торможение обычно осуществляется силами трения или при взаимодействии магнитных полей.
Большой энциклопедический словарь
ТОРМОЗ - механизм или устройство для уменьшения скорости движения машины. Может иметь механический (в т. ч. пневматический или гидравлический) и электрический привод. Торможение обычно осуществляется силами трения или при взаимодействии магнитных полей.
Академический словарь
-а, мн. тормоза́, -о́в и то́рмозы, -ов, м.
1. (мн. тормоза́).
Устройство для замедления или остановки движения какой-л. машины.
Поезд сильно тряхнуло, завизжали колодки тормозов, ход резко сбавился. Павленко, Ураган.
[Максимов] отпустил ручной тормоз. Машина, стоявшая задними колесами на возвышении, съехала вниз. Рыбаков, Водители.
|| устар.
Площадка железнодорожного вагона, на которой помещается такое устройство.
Когда раздался свисток, купец поднялся, достал из-под лавки мешок, запахнулся и, приподняв картуз, вышел на тормоз. Л. Толстой, Крейцерова соната.
2. только ед. ч.
То же, что торможение.
От резкого тормоза заднюю часть кузова занесло в сторону. Гранин, Искатели.
Дело идет о внутреннем тормозе, возникшем в результате прошлого опыта. Бехтерев, Общие основы рефлексологии человека.
3. (мн. то́рмозы) перен.
Препятствие, помеха в чем-л.
Монополия землевладения создает тормоз развитию земледелия ---. Ленин, Новые данные о законах развития капитализма в земледелии.
- Если ты сегодня учиться не хочешь, --- какой же ты завтра будешь строитель социализма? Не строитель ты будешь, а тормоз. Либединский, Комиссары.
◊
на тормозах{ (ехать, спускаться и т. п.)}
тормозя, замедляя движение.
спустить на тормозах {что}
уладить что-л. неприятное тихо, без шума.
Энциклопедия Кольера
ТОРМОЗ - устройство для замедления или остановки движения. Тормоз действует, поглощая механическую энергию и затем рассеивая ее (обычно в форме теплоты). Тормоз может быть механическим или электрическим. Все механические тормоза - фрикционные; электрические могут быть гистерезисными, индукционными и феррожидкостными.
Механические тормоза. В механическом тормозе энергия движения поглощается и преобразуется в теплоту в результате трения между двумя поверхностями, одна из которых движется, а другая неподвижна. Привод механического тормоза может быть рычажным, тросовым, электромагнитным, гидравлическим или пневматическим. Основной тип механического тормоза - колодочный; в нем тормозные колодки прижимаются к тормозному барабану. Колодки могут воздействовать на барабан не снаружи, а изнутри, как в автомобильных тормозах, в том числе и с гидроусилением.

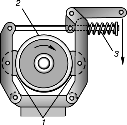
КОЛОДОЧНЫЙ ТОРМОЗ. Тормозные колодки прижимаются к тормозному барабану, и силы трения замедляют его вращение, энергия которого при этом преобразуется в теплоту. 1 - тормозные колодки; 2 - тормозной барабан; 3 - пружина.

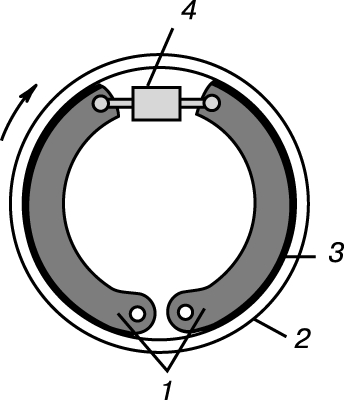
АВТОМОБИЛЬНЫЙ ТОРМОЗ с внутренним расположением колодок. При срабатывании гидроцилиндра его поршни прижимают тормозные колодки с накладками из фрикционного материала к поверхности тормозного барабана. 1 -тормозные колодки; 2 - тормозной барабан; 3 - фрикционная накладка; 4 - гидроцилиндр с двумя поршнями.
В колодочном тормозе с наружным или внутренним расположением колодок тормозящее действие обеспечивается силами трения, приложенными к поверхности тормозного барабана.
В дисковом же тормозе, заменившем барабанный колодочный в самолетах и во многих автомобилях, силы трения прилагаются к поверхности тормозного диска. Дисковый тормоз обычно имеет гидравлический привод.

ДИСКОВЫЙ ТОРМОЗ. Под действием двух поршней тормозные колодки с обеих сторон прижимаются к тормозному диску. 1 - тормозной диск; 2 - вал; 3 - поршни; 4 - тормозные колодки; 5 - шпонка.
Электрические тормоза. В отличие от механического (фрикционного) тормоза в электрическом для торможения не используется механическое трение. В гистерезисном и индукционном тормозах тормозное действие является результатом взаимодействия электрических полей. Особенностью таких тормозных систем является то, что тормозное действие полностью отсутствует при нулевой скорости подвижной части тормоза - ротора - относительно статора. Торможение происходит только при наличии относительного движения - "скольжения". Поэтому такие тормоза применяются чаще всего не для полной остановки, а для замедления движения. В феррожидкостной тормозной системе зазор между ротором и статором заполнен вязкой суспензией порошка железа в масле. Для торможения через тормоз пропускают электрический ток, который создает в зазоре магнитное поле. Частицы железа выстраиваются вдоль магнитных силовых линий и удерживаются в таком положении магнитными силами. Суспензия как бы сгущается и затвердевает, что и вызывает торможение ротора. Как и механические, электрические тормоза в процессе работы нагреваются. Теплоту необходимо отводить во избежание повреждения или отказа тормозной системы.
См. также
АВТОМОБИЛЬ ЛЕГКОВОЙ;
ДИНАМОМЕТР;
АВТОТРАНСПОРТ;
ЖЕЛЕЗНАЯ ДОРОГА.
ЛИТЕРАТУРА
Албегов Н.А. и др. Электропневматические тормоза. М., 1982 Александров М.П. и др. Тормозные устройства (справочник). М., 1985
Практический толковый словарь
нарк. тугодум, плохо соображающий человек или... врач нарколог (тот, который тормозит процесс приема наркотиков)
Сборник слов и иносказаний
тормоз -
тормаз (тормоз)
(иноск.) - кто мешает делу, ходу ему не дает (намек на тормаз (тормоз) - устройство для остановки движения, раскатывания саней, для удерживания повозки, для остановки хода машины и т. д.)
Тормазить (тормозить) (иноск.) - мешать, замедлять дело
Ср. (Чиновники) ведь всякое дело тормозят и жизни не понимают...
К.М. Станюкович. Откровенные. 2, 3.
См. клапан.
Поговорки
Заело тормоз у кого. Жарг. мол. Неодобр. О глупом, несообразительном человеке. Максимов, 140.
Ручной тормоз. Жарг. мол. Шутл. Мужской половой орган. Елистратов 2001, 663; Щуплов, 53.
Тормоз от самой большой машины. Жарг. мол. Шутл.-ирон. О крайне глупом человеке. Вахитов 2003, 179.
Тормоза дома оставил. Жарг. мол. Неодобр. О человеке, ведущем себя подобно сумасшедшему. Вахитов 2003, 179.
Тормоза срываются у кого. Прост. Неодобр. Кто-л. не может сдержаться, ведет себя бестактно, грубо. Ф 2, 206; Мокиенко 2003, 122.
Спускать/ спустить на тормозах что. Разг. Улаживать что-л. неприятное без шума и широкой огласки. БМС 1998, 571; ЗС 1996, 349; ФМ 2002, 524.
Спустить с тормозов. Жарг. мол. Перестать владеть собой, потерять самоконтроль. Максимов, 401.
Словарь русского арго
ТОРМОЗ, -а, м.
1. Недалекий, неумный, несообразительный человек, тупица.
2. Работа, не сделанная вовремя, к сроку.
3. в зн. межд. Стой, стоп, остановись!
Словарь сленга
Человек, медленный в своих интеллектуальных ифизических действиях.
Орфографический словарь
то́рмоз, -а, мн. ч. -а́, -о́в и (помеха, препятствие) -ы, -ов
Словарь ударений
то́рмоз, -а; мн. тормоза́, -о́в (тех. устройство) и то́рмозы, -ов (помехав развитии, осуществлении чего-л.)
I Ć сущ см. Приложение II
(техническое устройство)
т́о́рмоза
мн.
тормоза́
тормозо́в́
И взвизгивали тормоза́.
К ней подбегали тормоша.
И волочили и лупили
лицом по лугу и крапиве…
А. А. Вознесенский, Бьют женщину
Я по подземным переходам не пойду:
Визг тормозо́в мне - как романс о трех рублях, -
За то ль я гиб и мерз в семнадцатом году,
Чтоб частный собственник глумился в «Жигулях»!
В. С. Высоцкий, Песня автозавистника
II Á сущ см. Приложение II
(помеха, препятствие)
т́о́рмоза
мн.
т́о́рмозы
т́о́рмозов
Трудности произношения и ударения
то́рмоз. В знач. «устройство для замедления или остановки движения поезда, машины и т. п.» - мн. тормоза́, род. тормозо́в. Нажать на тормоза́. В знач. «помеха, препятствие» - мн. то́рмозы, род. то́рмозов. Устранить то́рмозы в работе.
Формы слов для слова тормоз
1. то́рмоз, то́рмозы, то́рмоза, то́рмозов, то́рмозу, то́рмозам, то́рмоз, то́рмозы, то́рмозом, то́рмозами, то́рмозе, то́рмозах
2. то́рмоз, тормоза́, то́рмоза, тормозо́в, то́рмозу, тормоза́м, то́рмоз, тормоза́, то́рмозом, тормоза́ми, то́рмозе, тормоза́х
Синонимы к слову тормоз
сущ., кол-во синонимов: 60
Тезаурус русской деловой лексики
Syn: стопор, арретир, сдерживающий фактор, препятствие
Морфемно-орфографический словарь
Грамматический словарь
то́рмоз м 1c① (устройство для торможения);
Этимология
Произнося сегодня это слово, мы представляем себе сложное гидравлическое устройство, например, в автомобиле, приводимое в действие педалью. В древности устройство для торможения было значительно проще: заимствование из греческого, в котором tormos - "отверстие для гвоздя, препятствующего движению колеса телеги".
Этимологический словарь
Греческое - «все, что вставляется в отверстие, пробка, гвоздь».
Предположения ученых о происхождении и времени появления слова в русском языке недостаточно обоснованы. Известно, что слово употреблялось еще в древнерусском языке, однако в словарях впервые упоминается лишь в XVIII в.
В связи с созвучием и близостью значений существуют попытки объяснить происхождение от тюркского turmaz - «он не стоит», «подкладыш для колес арбы».
Во многих славянских языках слово отсутствует.
В современном русском языке слово употребляется в значении «механическое устройство, снижающее скорость», а также «помеха, препятствие».
Производные: тормозной, тормозить.
Этимологический словарь русского языка
Из греч. яз. В словарях фиксируется с конца XVIII в. Греч. tormos - «отверстие для вставки гвоздя, задерживающего движение колеса, втулка».
Этимологический словарь
Происхождение неясно. Наиболее предпочтительным кажется толкование этого слова как тюркизма (тюрк. turmaz «подкладыш под колеса арбы», ср. аналогичное значение в диалектах).
то́рмоз
то́рмаз, диал. "железная полоса на санном полозе", арханг. (Подв.), тормози́ть. Обычно объясняют как заимств. из греч. τόρμος "все то, что вставлено в отверстие; дыра, в которой торчит затычка, гвоздь, колышек"; см. Мi. ЕW 359; Фасмер, Гр.-сл. эт. 203; Маценауэр 414; Горяев, ЭС 372. Не является более вероятной гипотеза об исконнослав. происхождении и сближение со стреми́ться, стром, стремгла́в, вопреки Ильинскому (ИОРЯС 23, I, 138 и сл.). [Греч. происхождение маловероятно. Дмитриев ("Лексикогр. сб.", 3, 1958, стр. 45) предполагает заимств. из тюрк. turmaz "он не стоит", также "подкладыш для колес арбы". - Т.]
Новый словарь иностранных слов
то́рмоз
(гр. tormos отверстие для вставки гвоздя, задерживающего вращение колеса)
1) устройство для уменьшения скорости или полной остановки машины;
2) установка для испытания двигателей, определения их мощности и других показателей работы;
3) перен. препятствие, помеха в чём-л.
Сканворды для слова тормоз
- «Противогаз» в автомобиле.
- Устройство в автомобиле, которое, как утверждают, придумали трусы.
- «Стоп» под стопой.
- Педаль, усмиряющая железного коня.
- Ручная часть автомобиля.
- Система для замедления и остановки машины.
- Стопор.
- Устройство, придающее автомобилю отрицательное ускорение.
- Как по-гречески называется отверстие для вставки гвоздя, задерживающего движение колеса?
- Альтернатива акселератору.
- Ручной в автомобиле.
- Роль парашюта в гоночной машине.
- Стоп-кран.
- Ручник.
- Тугодум (разг.).
Полезные сервисы